
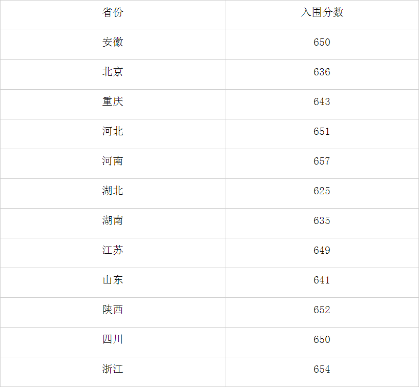
根据教育部相关文件和西北工业大学2025年强基计划招生简章要求,按照相关省份考生高考成绩,确定我校强基计划校考入围分数线,现公布如下:

请考生务必登陆西北工业大学强基计划报名平台查询入围结果,考生是否入围以报名平台查询结果为准。请入围考生及时查看西北工业大学本科招生信息网,了解后续校测安排。
西北工业大学招生办公室
2025年6月26日

根据教育部相关文件和西北工业大学2025年强基计划招生简章要求,按照相关省份考生高考成绩,确定我校强基计划校考入围分数线,现公布如下:

请考生务必登陆西北工业大学强基计划报名平台查询入围结果,考生是否入围以报名平台查询结果为准。请入围考生及时查看西北工业大学本科招生信息网,了解后续校测安排。
西北工业大学招生办公室
2025年6月26日